Systèmes
Une large gamme de systèmes sur-mesure
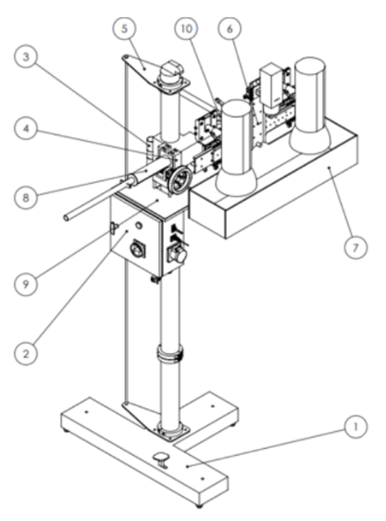
Architecture des Systèmes IR
QNDT architecture ses systèmes au regard des exigences d’exploitation de ses clients en intégrant les équipements et les méthodes les plus performantes pour satisfaire les besoins en termes de qualité de détection et vitesse de traitement. Un large choix de configurations sont disponibles pour satisfaire les objectifs de chaque situation :
Les capteurs :
-
-
- Caméras IR refroidies pour les applications scientifiques
- Caméras bolométriques non refroidies pour les applications industrielles
- Mono-détecteur pour les applications industrielles très hautes fréquences
- Des accessoires optiques pour augmenter la performance des capteurs (filtres haute température, microscope,…)
- Nous sélectionnons les meilleures références du marché au regard de l’application concernée.
-
Les excitateurs
-
-
- Excitation photothermique surfacique : Flash, Lampes Halogènes ou InfraRouge, Laser
- Excitation Fluidique convectif : Air soufflé, Fluide caloporteur,
- Excitation volumique : Induction, Electrique, Ultrasonique
- Exploitation de l’apport thermique des procédés ou tout système de conversion d’énergie
- Nos experts sélectionnent et dimensionnement l’excitation au regard des propriétés optiques et physiques des zones d’intérêt à inspecter et des conditions d’exploitation du système.
-
Le pilotage :
-
-
- Un boîtier Contrôle Commande pour intégrer les connexions Entrée/Sortie pour raccorder les organes des systèmes et les interfaces d’exploitation.
- Une station PC intégrant le logiciel d’exploitation incluant les méthodes de traitement avancées SAFIR
- Nos experts sélectionnent les chaînes de traitement du signal et des données SAFIR les plus performantes pour satisfaire les objectifs visés
-
Le porteur sur mesure
-
-
- Des châssis fixes réglables pour inspection stationnaire mono ou multi capteurs
- Des châssis sur table avec axes motorisés et pilotés pour des scanners d’échantillons
- Des porteurs déplaçables pour inspection multi sites
- Des intégrations sur bras motorisés et programmables 7 axes
- Des intégrations sur véhicules autonomes
-
Réalisations
Une large choix de systèmes sur-mesure.
Equipements de laboratoire
QNDT conçoit des dispositifs de caractérisation thermique et de monitoring pour la recherche expérimentale, en collaboration avec EPSYL et des centres de recherche internationaux.
Dispositifs d’inspection mobiles
QNDT conçoit des dispositifs mobiles indoor et outdoor. de thermographie pour l’inspection précise des différents surfaces et composants industriels.
Dispositifs de Contrôle Temps Réel
QNDT conçoit des solutions de thermographie et térahertz pour un contrôle en temps réel, intégrables en production 24/7, avec monitoring intelligent et connectivité industrielle.
9 dispositifs pour couvrir toutes les situations
01
Thermique instantanée
QNDT – FLASH
Banc Thermographie par excitation Flash
02
Thermique renforcée
QNDT – LOCK-IN
Banc Thermographie par Halogène
03
Balayage laser
QNDT – FLYINGSPOT
Banc Thermographie par excitation Laser
04
Sans thermique
QNDT – THZ
Banc Térahertz
05
Scanner 3D
QNDT – MULTISPECTRAL
Banc Tomographie multi-matériaux
06
Monitoring
QNDT – ABSOLUTE TEMPERATURE
Banc de mesure Température Absolue
07
Induction
QNDT – INDUCTION
Banc Thermographie par excitation électromagnétique
08
AirFlow
QNDT – AIRFLOW
Banc Thermographie par excitation fluidique
09







